【LAN DISK】設定画面上は正常と認識されているHDDの交換方法(NarSuS故障予兆通知)
本方法は、以下状況における交換方法となります。
通常は故障判定が出た場合に交換してください。
※拡張ボリュームにおいて、内蔵ディスクを増量したい場合はマニュアルの手順をご確認ください
シリーズによって手順が異なります。
故障時と同様の方法で交換できます。各マニュアルに沿って交換してください。
| HDL2-LEシリーズ HDL2-LENシリーズ |
交換方法 |
|---|---|
| HDL2-AAXシリーズ HDL2-AAXWシリーズ |
交換方法 |
| HDL2-AAシリーズ HDL2-AAWシリーズ |
交換方法 |
もし、バックアップ失敗や、バックアップを行っていない場合は、交換作業は絶対に行わず、すぐにバックアップを実施し、必要なデータがバックアップされていることを確認してから実施してください。
バックアップされているか確認する方法
ホットスワップ(起動したまま)での交換はできません。
次の手順で、LAN DISKの電源を落としての交換方法をご実施ください。
もし、バックアップ失敗や、バックアップを行っていない場合は、交換作業は絶対に行わず、すぐにバックアップを実施し、必要なデータがバックアップされていることを確認してから実施してください。
バックアップされているか確認する方法

※HDD1本抜けた状態での起動となるため構成異常([STATUS]ランプが赤点滅)で起動します。
※ブザー音が鳴るため、本製品前面の[Func]ボタンを押してブザーを止めてください。




再構築中でもLAN DISKは通常通りご利用いただいて問題ございませんが、 通常より動作が遅くなる場合がございます。
また構築が完了するまでの間、LAN DISKの電源は入れたままでお待ちください。
次の時間は、6TBモデルでNASに保存しているデータがない場合の所要時間です。
ご利用のデータ容量によっては下記以上の時間がかかる場合がございますが お使いのモデルにあわせ目安としてください。
| RAIDモード | 再構築完了までの時間 |
|---|---|
| 拡張ボリューム | 約2分 |
| RAID6(4ドライブモデル) | 約4時間半~約7時間半 |
| RAID 5(4 ドライブモデル) | 約4時間半~約7時間半 |
| RAID 1(2 ドライブモデル) | 約7時間半~約9時間 |
[情報・ログ表示] → [ボリューム情報]のモードを確認してください。


ホットスワップ(起動したまま)での交換はできません。
次の手順で、LAN DISKの電源を落としての交換方法をご実施ください。


※HDD1本抜けた状態での起動となるため構成異常([STATUS]ランプが赤点滅)で起動します。
※ブザー音が鳴るため、本製品前面の[Func]ボタンを押してブザーを止めてください。


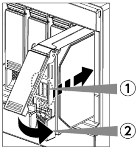
●取付方法
① フロントパネルを下にスライドして取り付ける
② 添付のロックキーを使って、ロックする


再構築中でもLAN DISKは通常通りご利用いただいて問題ございませんが、 通常より動作が遅くなる場合がございます。
また構築が完了するまでの間、LAN DISKの電源は入れたままでお待ちください。
次の時間は、6TBモデルでNASに保存しているデータがない場合の所要時間です。
ご利用のデータ容量によっては下記以上の時間がかかる場合がございますが お使いのモデルにあわせ目安としてください。
| RAIDモード | 再構築完了までの時間 |
|---|---|
| 拡張ボリューム | 約2分 |
| RAID6(4ドライブモデル) | 約4時間半~約7時間半 |
| RAID 5(4 ドライブモデル) | 約4時間半~約7時間半 |
| RAID 1(2 ドライブモデル) | 約7時間半~約9時間 |
[情報・ログ表示] → [ボリューム情報]のモードを確認してください。


①[コントロールパネル]-[システム]-[システムの詳細設定]をクリックします。
②[詳細設定]のタブより「起動と回復」の[設定]をクリックします。
③「既定のオペレーティングシステム」で、セカンダリプレックスを選択し[OK]をクリックします。
| Q&A番号 | 33616 |
|---|---|
| このQ&Aの対象製品 | HDL-AA1 HDL-AA1/E HDL-AA12 HDL-AA12/E HDL-AA12W HDL-AA1W HDL-AA2 HDL-AA2/E HDL-AA2W HDL-AA3 HDL-AA3/E HDL-AA3W HDL-AA4 HDL-AA4/E HDL-AA4W HDL-AA6 HDL-AA6/E HDL-AA6W HDL-AA8 HDL-AA8W HDL-AAS3 HDL-AAX1 HDL-AAX1W HDL-AAX2 HDL-AAX2/E HDL-AAX2W HDL-AAX3 HDL-AAX3/E HDL-AAX3W HDL-AAX4 HDL-AAX4/E HDL-AAX4W HDL-AAX6 HDL-AAX6/E HDL-AAX6W HDL-AAX8 HDL-AAX8/E HDL-AAX8W HDL2-AAX0/E HDL2-AAX12 HDL2-AAX12/E HDL2-AAX12W HDL2-AAX12WB HDL2-AAX16 HDL2-AAX16/E HDL2-AAX16W HDL2-AAX16WB HDL2-AAX2 HDL2-AAX2/E HDL2-AAX2W HDL2-AAX2WB HDL2-AAX4 HDL2-AAX4/E HDL2-AAX4W HDL2-AAX4WB HDL2-AAX6 HDL2-AAX6/E HDL2-AAX6W HDL2-AAX6WB HDL2-AAX8 HDL2-AAX8/E HDL2-AAX8W HDL2-AAX8WB HDL2-H12 HDL2-H12/TM3 HDL2-H12/TM5 HDL2-H2 HDL2-H2/R HDL2-H2/TM3 HDL2-H2/TM5 HDL2-H4 HDL2-H4/R HDL2-H4/TM3 HDL2-H4/TM5 HDL2-H6 HDL2-H6/TM3 HDL2-H6/TM5 HDL2-H8 HDL2-H8/R HDL2-H8/TM3 HDL2-H8/TM5 HDL2-HA12 HDL2-HA12/TM5 HDL2-HA12B HDL2-HA16 HDL2-HA16/TM5 HDL2-HA16B HDL2-HA2 HDL2-HA2/TM5 HDL2-HA2B HDL2-HA4 HDL2-HA4/TM5 HDL2-HA4B HDL2-HA8 HDL2-HA8/TM5 HDL2-HA8B HDL2-HB02 HDL2-HB02/02 HDL2-HB04 HDL2-HB04/04 HDL2-HB08 HDL2-HB08/08 HDL2-HB12 HDL2-HB16 HDL2-HB16/16 HDL2-LE02 HDL2-LE04 HDL2-LE04/E HDL2-LE08 HDL2-LE08/E HDL2-LE12 HDL2-LE12/E HDL2-LE16 HDL2-LE16/E HDL2-LV02 HDL2-LV02/ST5E HDL2-LV04 HDL2-LV04/ST5E HDL2-LV08 HDL2-LV08/ST5E HDL2-LV16 HDL2-LX02 HDL2-LX04 HDL2-LX08 HDL2-LX16 HDL2-X/ST5 HDL2-X12 HDL2-X16 HDL2-X2 HDL2-X2/ST5 HDL2-X4 HDL2-X4.ST5 HDL2-X4/DB1 HDL2-X4/ST5 HDL2-X4/TM3 HDL2-X4/TM5 HDL2-X6 HDL2-X8 HDL2-X8/DB1 HDL2-X8/TM3 HDL2-X8/TM5 HDL2-XA16 HDL2-XA16B HDL2-XA2 HDL2-XA2B HDL2-XA4 HDL2-XA4B HDL2-XA8 HDL2-XA8B HDL4-H12EX HDL4-H12R HDL4-H16EX HDL4-H16R HDL4-H24EX HDL4-H24R HDL4-H32EX HDL4-H32R HDL4-H4EX HDL4-H4R HDL4-H6EX HDL4-H8EX HDL4-H8R HDL4-HA16-U HDL4-HA16-UB HDL4-HA16EX HDL4-HA16EXB HDL4-HA24-U HDL4-HA24-UB HDL4-HA24EX HDL4-HA24EXB HDL4-HA32-U HDL4-HA32-UB HDL4-HA32EX HDL4-HA32EXB HDL4-HA4-U HDL4-HA4-UB HDL4-HA4EX HDL4-HA4EXB HDL4-HA64-UB HDL4-HA8-U HDL4-HA8-UB HDL4-HA80-UB HDL4-HA8EX HDL4-HA8EXB HDL4-HB04EX HDL4-HB08EX HDL4-HB16EX HDL4-HB24EX HDL4-HB32EX HDL4-LV04 HDL4-LV04/ST5E HDL4-LV04U HDL4-LV08 HDL4-LV08/ST5E HDL4-LV08U HDL4-LV16 HDL4-LV16/ST5E HDL4-LV16U HDL4-LV32 HDL4-LV32U HDL4-LX04 HDL4-LX04U HDL4-LX08 HDL4-LX08U HDL4-LX16 HDL4-LX16U HDL4-LX32 HDL4-LX32U HDL4-LX64 HDL4-LX64U HDL4-LX80 HDL4-LX80U HDL4-LX96 HDL4-LX96U HDL4-X12 HDL4-X16 HDL4-X16-U HDL4-X2 HDL4-X24 HDL4-X32 HDL4-X32-U HDL4-X4 HDL4-X4-U HDL4-X4/M3 HDL4-X4/ST5 HDL4-X4/TM3 HDL4-X4/TM5 HDL4-X8 HDL4-X8-U HDL4-X8/ST5 HDL4-X8/TM3 HDL4-X8/TM5 HDL4-XA16 HDL4-XA16-U HDL4-XA16-UB HDL4-XA16B HDL4-XA32 HDL4-XA32-U HDL4-XA32-UB HDL4-XA32B HDL4-XA4 HDL4-XA4-U HDL4-XA4-UB HDL4-XA4B HDL4-XA8 HDL4-XA8-U HDL4-XA8-UB HDL4-XA8B HDL6-H12 HDL6-H18 HDL6-H24 HDL6-H36 HDL6-H48 HDL6-H6 HDL6-HA12 HDL6-HA120B HDL6-HA12B HDL6-HA24 HDL6-HA24B HDL6-HA36 HDL6-HA36B HDL6-HA48 HDL6-HA48B HDL6-HA6 HDL6-HA6B HDL6-HA96B HDL6-HB06 HDL6-HB12 HDL6-HB120 HDL6-HB144 HDL6-HB24 HDL6-HB36 HDL6-HB48 HDL6-HB96 |
このページのQRコードです。
スマホのカメラで読み取ることで、スマホでFAQを見ながらパソコンの操作ができます。